茅台已申请“茅小咖”、“茅香辣“商标!

2023-09-11

1茅台已申请“茅小咖”、“茅香辣“商标


近日,贵州茅台与瑞幸咖啡联合推出的“酱香拿铁”引发热议。


天眼查App显示,今年6月-7月,中国贵州茅台酒厂(集团)有限责任公司申请注册了“茅小咖”、“茅小辣”、“茅小椒”“茅香辣”多个商标。


图片
图片

来源:Donews



2、奥本海默商标被多方抢注


近日,电影《奥本海默》热映,奥本海默与杨振宁曾共事引发网友讨论。


天眼查App显示, “奥本海默”已被多方申请注册商标,申请人包括莆田某投资公司、浙江某工业产品设计公司、广东某智能装备公司等。

国际分类包括机械设备、健身器材、办公用品等,当前商标状态多为已注册。


图片

来源:Donews



3、苹果折叠屏显示器专利公布


天眼查App显示,9月5日,苹果公司申请的“具有耐用折叠显示器的电子设备”专利公布。


摘要及说明书显示,该专利中的可折叠显示器围绕弯曲轴线弯曲,显示面板具有像素阵列,可将显示器覆盖层的图像显示出来。


图片
图片


来源:Donews


4、果新专利获批 未来iMac配带屏幕曲面玻璃


9 月 5 日消息,根据苹果公司获批的最新技术专利,展示了未来 iMac 一体机的设计方案。


在苹果公司的构想中,未来的 iMac 在未来配有屏幕的嵌入式单片曲面玻璃。

这项技术专利最早于 2019 年向美国商标和专利局提交申请,并于 2022 年获得批准。苹果于同年也在欧洲提交申请,不过在近期才获得批准。


这项技术专利名称为“带有玻璃外壳的电子设备”,通过单片曲面玻璃来探索 iMac 的未来。根据这项专利描述,这个单片曲面玻璃两侧配有屏幕,中间为键盘,该玻璃可以充当 iMac 的部分支架使用。

来源:科技讯



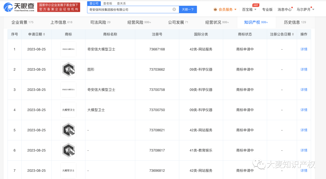
5、奇安信申请大模型卫士商标


天眼查App显示,近日,奇安信科技集团股份有限公司申请注册多枚“奇安信大模型卫士”“大模型卫士”商标,国际分类包括科学仪器等,当前商标状态均为申请中。


据媒体报道,不久前,奇安信集团宣布推出Q-GPT(奇安信大模型)安全机器人和大模型卫士。


图片

来源:Donews



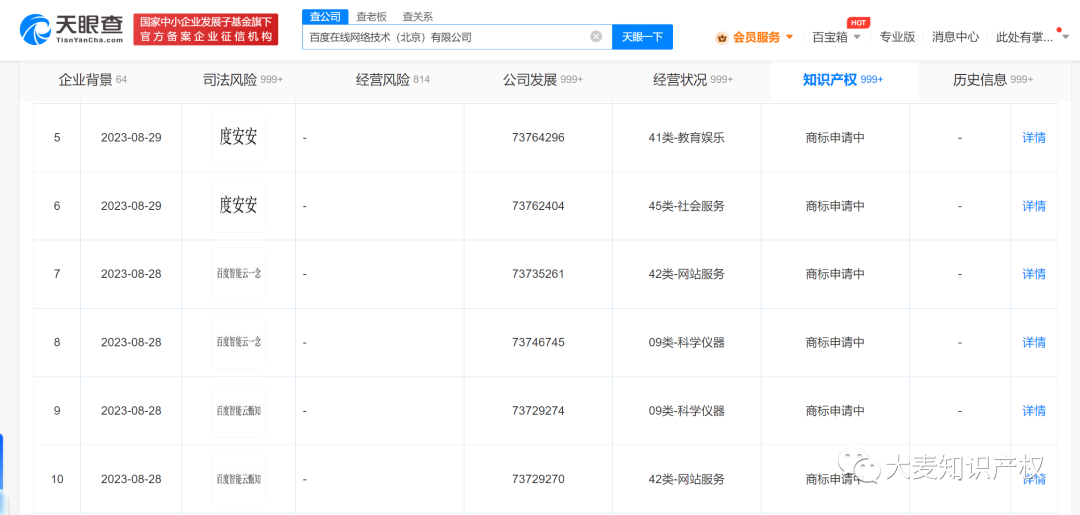
6、百度申请多个大模型应用商标


天眼查App显示,近日,百度在线网络技术(北京)有限公司申请“百度智能云一念”“百度智能云甄知”商标,国际分类均包含网站服务、科学仪器,当前商标状态均为申请中。


据悉,百度智能云一念、百度智能云甄知分别是基于百度文心大模型打造的内容创作平台、企业知识助手。


图片
图片

来源:搜狐



7我国已有多个破除信息茧房专利申请

近日,网红主播“秀才”账号被封,其在中老年群体中关注度较高,但许多年轻网友称第一次知道该主播,这也引发平台算法和信息茧房的相关讨论。

天眼查App显示,我国已有多个信息茧房相关专利申请。


图片
图片

来源:Donews



8、荣耀”波形切换方法及电子设备“专利公布

荣耀终端有限公司”波形切换方法及电子设备“专利公布,申请公布日为9月5日,申请公布号为CN116709542A。

 专利摘要显示,该专利是一种波形切换方法及电子设备,涉及电子设备技术领域,可以降低信号产生非线性失真的可能性,保障电子设备传输数据的稳定性。

图片

来源:集微网



9、瑞幸咖啡申请酱香商标

近日,瑞幸咖啡与贵州茅台合作推出的“酱香拿铁”爆火。

天眼查App显示,9月4日,瑞幸咖啡(中国)有限公司申请注册“瑞幸酱香”商标,国际分类为方便食品,当前商标状态为申请中。

图片
图片

来源:Donews




10、张庭夫妇公司申请“啡常开心”商标

天眼查App显示,近日,上海庭林企业管理有限公司申请注册多枚“啡常开心”商标,国际分类包括啤酒饮料、方便食品、广告销售,当前商标状态均为申请中。

值得一提的是,该公司不久前刚成立上海加减乘除餐饮管理有限公司。

 上海庭林企业管理有限公司成立于2021年9月,法定代表人、执行董事为林吉荣(张庭丈夫)。


图片
图片

来源:Donews



11、未来苹果将在iPhone和Mac上增加哑光黑配色

9月6日消息,据外媒报道称,美国商标和专利局于近日公布了苹果公司的一项新技术专利。该专利涉及蚀刻染色的阳极氧化工艺,可以形成独特的哑光黑配色,未来或许会应用于 MacBook、iPad、iPhone、Apple Watch 等设备上。

专利信息显示,阳极氧化工艺可以为外壳染成不同的颜色,以增强其对消费者的外观吸引力,但是某些颜色实现难度比较高。

来源:环球网



12、蜜雪冰城申请雪王外送商标

天眼查App显示,近日,蜜雪冰城股份有限公司申请注册多个“雪王外送”商标,国际分类包括广告销售、运输贮藏等,当前商标状态均为申请中。


图片

来源:Donews



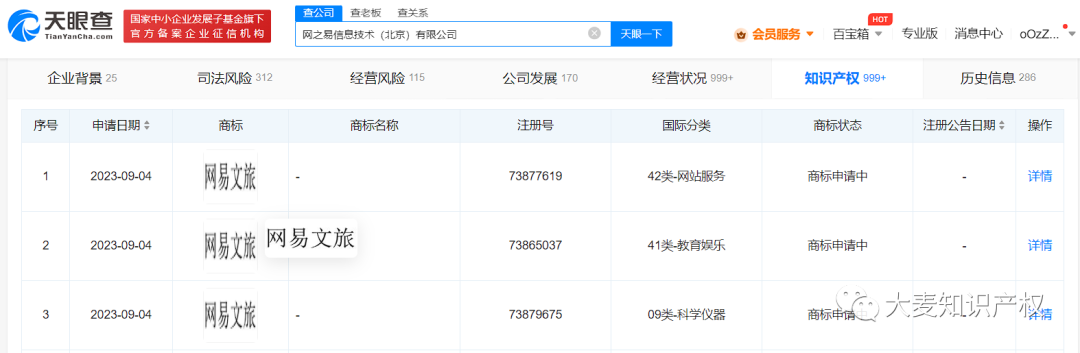
13、网易申请网易文旅商标

天眼查App显示,近日,网之易信息技术(北京)有限公司、广州网易计算机系统有限公司申请注册多枚“网易文旅”商标,国际分类为教育娱乐、网站服务、通讯服务等,当前商标状态均为申请中。


图片

来源:Donews



14、苹果新 iPhone 专利获批:检测屏幕是否贴膜,动态改善显示输出

9 月 8 日,根据美国商标和专利局公示的清单,苹果公司又获得了一项技术专利,名称为《触摸输入设备的覆盖层检测》,其简单来说就是检测 iPhone 或者 iPad 是否有贴膜,然后通过动作补偿改善交互。

苹果在专利中完整概述了检测设备是否贴膜的方法和系统,并能够在 iPhone、iPad 等数码设备上,根据是否有贴膜进行动态调整。

不少消费者出于保护等因素,会选择给 iPhone、iPad 设备贴膜,这会导致屏幕产生的图像出现细微的失真,能以微小但可感知的方式改变显示屏的光线。

来源:科技讯



温馨提示:本文所引用的文章、使用的图片来自网络,已注明出处,不用于商业目的,版权归原作者所有。如有不妥,请留言告知。感谢!


图片


有任何知识产权问题,欢迎咨询大麦知识产权!