OPPO申请AndesGPT商标,蜂花商标被多方抢注

2023-09-18

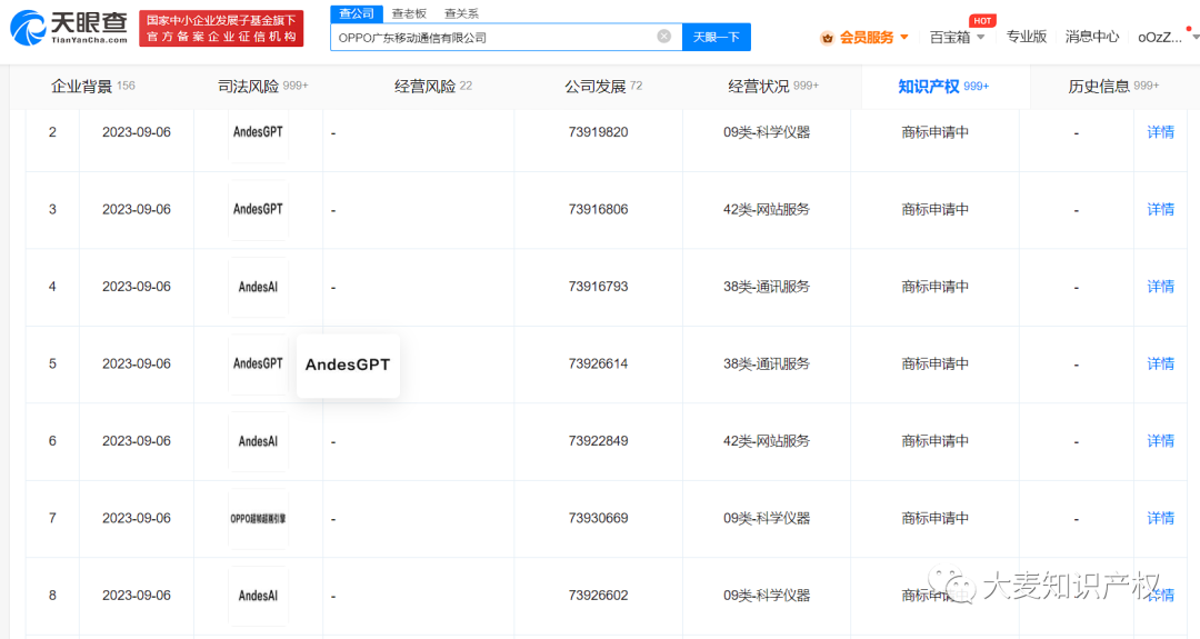
1

OPPO申请AndesGPT商标

近日,OPPO广东移动通信有限公司申请注册多个“AndesGPT”、“AndesAI商标,国际分类为科学仪器通讯服务网站服务,当前商标状态均为申请中

 

据媒体报道,OPPO官方近期宣布,基于AndesGPT打造的全新小布助手即将开启大型体验活动,升级后的小布助手将具备AI大模型能力。



来源:Donews

2

盈康生命旗下医院发明“一种带有止流功能的留置尿管”获发明专利

近日,盈康生命旗下生态成员——山西盈康一生总医院康复医学科护士长李亭,因改良留置尿管获得国家发明专利

这一创新设计解决了传统尿管固定方式的不便之处,为患者提供了更加优质的医疗护理服务。

 

从“贾菲盐袋加压包”到“李睿改良引流瓶”再到“李亭改良留置尿管”,作为盈康一生旗下上市公司盈康生命的生态成员,山西盈康一生总医院始终关注患者的需求和体验,激发医护人员用创新思维解决临床难题,不断改善患者的就医感受。


来源:财经

3

创高门窗运用国家专利技术,打造麒麟T2系统门窗新品

近期,创高门窗的研发团队发表了最新的研发成果——麒麟T2系统外开平开窗


它采用创高门窗的国家实用型专利(专利号ZL202223154588.5)滴水檐设计,能有效为住户遮风挡雨,防止雨水渗入室内,而且其水密性能6级、气密性能8级、抗风压性能9级,可充分抵御狂风暴雨的侵袭。



来源:TOM资讯

4

蜂花商标被多方抢注

近日,有网友发现,在李佳琦花西子事件发生后,蜂花在直播带货平台连夜上架三款价格79元的洗护套餐。对此,网友调侃称此为“朴实无华的商战”。

 

天眼查App显示,“蜂花”已被多方申请注册商标,申请人包括多家文创、商贸、服饰公司等,当前商标状态多为已注册


其中,蜂花关联公司上海华蜂日用品有限公司、上海蜂花日用品有限公司已成功注册多个“蜂花”商标,国际分类涉及广告销售日化用品服装鞋帽等。



来源:Donews

5

小米公开“车身后部结构和对开门式车辆”专利

近日,小米汽车科技有限公司新增多条专利信息,其中一条专利名称为“车身后部结构和对开门式车辆”,公开号为CN116714680A


专利摘要显示,本公开涉及一种车身后部结构和对开门式车辆,车身后部结构包括铰链机构、后车门以及后地板内轮罩加强板等。

通过将铰链座设置于后地板内轮罩加强板,后排门洞前后方向的尺寸不会受到影响,无需增加车辆轴距来满足上下车需求。



来源:集微网

6

UFO外星人商标被多方抢注

当地时间12日,墨西哥议会首次召开与“不明异常现象”相关的公开听证会,计划通过听证会推动相关立法工作,该国可能因此成为全球首个承认外星生物存在的国家

 

天眼查App显示, “UFO”、“ET外星人”等商标已被多方申请注册,申请人包括多家贸易、食品、科技、服饰等公司及多位自然人,国际分类包括运输工具科学仪器等。

其中,最早的一枚“UFO”商标由UFO当代公司申请于1979年8月,2022年9月,该商标因连续三年不使用被撤销



来源:Donews

7

和解!华为+小米=达成全球专利交叉许可!

9月13日,华为和小米宣布达成全球专利交叉许可协议,该协议覆盖了包括5G在内的通信技术。需要提及的是,华为和小米年内一直陷入专利纠纷之中,此次达成协议,或意味着双方纠纷告一段落。


华为和小米达成全球专利交叉许可协议的背后,是双方在研发领域的持续投入换来的专利成果。近十年来,华为研发投入近万亿元,而小米近期也宣布科技战略正式升级,加码研发投入。国内手机厂商正在迎来新一轮“科技升级”。


来源:证券时报

8

花西子事件后老牌国货销量暴涨

近日,李佳琦在直播间发言“翻车”之后,花西子随之陷入风波,而蜂花、莲花等老国货品牌却迎来高光时刻。

 

天眼查App显示,“国货”曾被多方申请注册商标,申请人包括武夷山某茶业公司、安徽某会展公司、浙江某玩具公司及自然人陈某某,国际分类涉及服装鞋帽方便食品等,不过,这些商标目前均为被驳回状态。



来源:Donews

9

有专利申请称5nm芯片无需光刻机

天眼查App显示,上海创消新技术发展有限公司申请的“5纳米芯片制造的直接蚀刻方法”专利公布

 

摘要显示,该发明涉及芯片设计及制造——不用EUV光刻机或DUV光刻机,不需要光刻过程,直接蚀刻就可以制造5纳米芯片。

 


来源:Donews

10

华勤技术“一种电子设备”专利获授权

天眼查显示,华勤技术股份有限公司“一种电子设备”专利获授权,授权公告日为9月12日,授权公告号为CN219678180U

 

专利摘要显示,本实用新型应用在计算机技术领域,通过启用外部电源对待供电系统进行供电,使得在电池供电电路没电的情况下依然确保待供电系统的正常运行。



来源:集微网

11

一公司抢注“Mate60pro”商标

华为Mate 60 Pro系列手机近日推出后,引发抢购热潮。9月15日,有记者注意到广东佛山一家卫生用品公司于近期准备抢注“Mate 60pro”商标目前状态为正在申请中



来源:大众网

温馨提示:本文所引用的文章、使用的图片来自网络,已注明出处,不用于商业目的,版权归原作者所有。如有不妥,请留言告知。感谢!


有任何知识产权问题,欢迎咨询大麦知识产权!

风里雨里,大麦知识产权一直在您跨境品牌出海、产品出海路上,陪伴着您!