世界首个 !我国有效发明专利数量突破400万件 !!!

2024-01-22

知识产权热点播报【第23期】来啦,快和大麦一起来学习打卡吧!




1、我国国内有效发明专利数量突破400万件

国家知识产权局副局长胡文辉16日在国新办举行的新闻发布会上介绍,截至2023年底,我国国内(不含港澳台)发明专利拥有量达到401.5万件,同比增长22.4%,成为世界上首个国内有效发明专利数量突破400万件的国家。
 
数据显示,我国2023年全年授权发明专利92.1万件,实用新型专利209万件,外观设计专利63.8万件。专利复审结案6.5万件,无效宣告结案0.77万件。受理PCT国际专利申请7.4万件。中国申请人提交海牙外观设计国际申请1814件。
 
“截至2023年底,我国发明专利有效量为499.1万件。”胡文辉说,其中,国内(不含港澳台)发明专利有效量为401.5万件。我国每万人口高价值发明专利拥有量达11.8件。

来源:中国政府网



2、小米申请泰坦合金商标

近日,小米科技有限责任公司申请注册了一系列中英文商标。其中,有“小米泰坦”、“小米泰坦合金”、“小米超级电机”、“小米汽车超级工厂”、“小米EV超级工厂”等商标的注册申请。

据悉,小米申请的这些商标涵盖了运输工具、金属材料和建筑修理等领域,当前商标状态为等待实质审查。

小米.png小米2.png



来源:快资讯





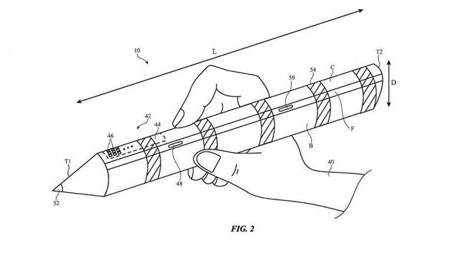
3、未来Apple Vision Pro或支持手柄

Patently Apple公布的苹果专利申请显示,苹果正在积极研究XR输入控制器,包括类似于手写笔的设备。

这项名为“手持控制器计算机系统”的新专利申请描述了“一个或多个手持控制器,用于与虚拟现实或混合现实系统交互,以为台式电脑、平板电脑提供输入计算机、移动电话、手表、耳塞或其他配件,用于控制照明、电视、恒温器、电器等家居用品,或与其他电子设备交互。”

专利图片展示了此类控制器的几个概念,包括类似手写笔的设备。该专利申请称,控制器可基于各种传感器来检测用户意图,包括触摸敏感表面、按钮或转盘。

苹果.jpg




4、蜂鸟音乐持有多枚邓紫棋商标

据媒体报道,邓紫棋前经纪公司蜂鸟音乐公司发布版权声明的微博,随即又删除,此举引发不少歌迷对于该公司和邓紫棋此前音乐版权纠纷的讨论。

据悉,邓紫棋2019年宣布与蜂鸟音乐解约,因艺名“邓紫棋”已被蜂鸟音乐注册为商标,她是否能用该艺名也曾引发讨论。

天眼查显示,蜂鸟音乐有限公司2014年、2010年申请注册“邓紫棋”“G.E.M.”商标,国际分类为教育娱乐、广告销售等,其中多枚商标已成功注册。

值得一提的是,在邓紫棋宣布与该公司解约后,蜂鸟音乐有限公司还曾于2020年、2021年申请注册健身器材类“GEM”商标、绳网袋蓬类“G.E.M.”商标,并于2022年完成注册。此外,2023年5月,该公司还申请注册教育娱乐类“G.E.M.”商标,当前商标状态为等待实质审查。

蜂鸟音乐.png蜂鸟音乐2.png



来源:Donews




5、“XX甄选”仍是商标注册热门

近日,石头科技申请注册“石头甄选”商标,国际分类为机械设备,当前商标状态为等待实质审查。另外,晨光股份成立上海晨光在线甄选文具有限公司,经营范围含文具用品批发、出版物零售等。

自东方甄选直播爆火后,“东方甄选”被多方申请注册商标,其中新东方公司申请的多枚“东方甄选”商标已成功注册,其他公司申请的商标多被驳回或处于无效状态。

此外,“西方甄选”“南方甄选”“北方甄选”商标也被多家公司申请注册,国际分类涉及方便食品、餐饮住宿、广告销售等。

甄选2.png甄选.jpg



来源:映象新闻




6、“屯溪绿茶”获批地理标志证明商标

近日,“屯溪绿茶”获国家知识产权局批准注册为地理标志证明商标,正式拥有国字号地域“身份证”。截至目前,全市拥有黄山毛峰、太平猴魁、休宁松萝、屯溪绿茶4枚茶叶类地理标志证明商标,8个茶叶类地理标志保护产品。
 
据了解,“屯溪绿茶”主要生长在北纬30度皖浙赣绿茶金三角地带,具有入口浓醇、过喉鲜爽、口留余香、回味甘美的口感特点,它不仅是我国内销炒青中出类拔萃的品种,也是黄山市大宗出口产品,远销至西北非、中亚、中东以及欧美等30多个国家或地区,深受广大客户的喜爱。
cd09ce2983b94d079b36e50cb84ef5f7.jpeg

来源:黄山日报




7、“大美青海”商标成功续展

日前,省对外文化交流中心在省市场监督管理局及商标品牌指导站协助下,完成“大美青海”旅游形象注册商标确权及续展工作,对进一步凸显文旅品牌效应,提高消费者对品牌的认知度和好感度夯实了基础。
 
近年来,全省积极推进“大美青海”品牌战略,强力宣传、推介和展示大美青海,青海省的美誉度、知名度和影响力得到快速提升,“大美青海”已经成为国内外认识青海、了解青海的“金名片”。


来源:青海新闻网


8、两面针申请治疗口腔溃疡专利

1月19日消息,据国家知识产权局公告,柳州两面针股份有限公司申请一项名为“预防和治疗口腔溃疡的复方中药提取物及其制备方法和应用”,公开号CN117414400A,申请日期为2023年11月。

专利摘要显示,本发明公开了一种预防和治疗口腔溃疡的复方中药提取物及其制备方法和应用,所述复方中药提取物的原料由以下组分组成:淡竹叶1‑10份,银杏叶1‑10份;复方中药提取物的制备方法包括:采用乙醇加热回流提取淡竹叶和银杏叶,分离提取液,浓缩后制得复方中药提取物;将上述复方中药提取物能应用于制备口腔护理用品中,具有显著的预防和治疗口腔溃疡作用。

来源:网易






温馨提示:本文所引用的文章、使用的图片来自网络,已注明出处,不用于商业目的,版权归原作者所有。如有不妥,请留言告知。感谢!


有任何知识产权问题,欢迎咨询大麦知识产权!

风里雨里,大麦知识产权一直在您跨境品牌出海、产品出海路上,陪伴着您!