知识产权热点播报【第16期】来啦,快和大麦一起来学习打卡吧!
1、广西防城港首个集体商标注册成功
近日,“滩营农幸园”集体商标初步审定公告期满,获得国家知识产权局核准注册,这是广西壮族自治区防城港市第一个注册成功的集体商标。从此,滩营乡滩营村股份经济合作社的农产品有了“身份证”。近年来,防城港市不断推进商标品牌强市战略,积极践行“绿水青山就是金山银山”的发展理念,支持引导地方特色农产品注册商标,目前该市共有涉农产品注册商标2318件。“滩营农幸园”集体商标的成功注册,不仅为防城港市,甚至为广西开展集体商标注册提供了积极样本。
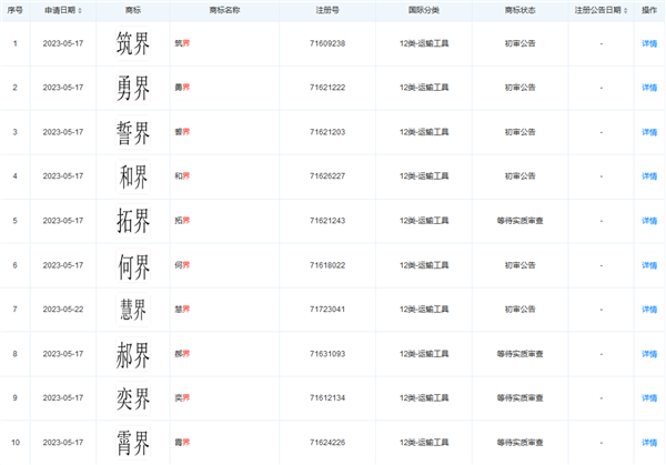
2、华为注册多个“界”字商标
在问界和智界两个品牌发布后,华为还申请了包括慧界、享界、揽界、郝界、和界、轩界、腾界、向界等“界字辈”的商标。据悉,在华为申请的众多“界”字商标当中,不仅涵盖了运输工具,还包含了教育娱乐、颜料油漆、建筑修理、地毯席垫、皮革皮具等众多领域;其中,共有24个“界”字商标为运输工具类。部分商标已经处于初审公告,还有一部分商标正在申请与等待实质审查当中

3、格力电器取得洗涤专利
据国家知识产权局公告,珠海格力电器股份有限公司取得一项名为“一种洗衣机衣物洗涤方法、电子设备及洗衣机”,公开号CN117071244A,专利申请日期为2023年11月。专利摘要显示,本发明提供一种洗衣机衣物洗涤方法、电子设备及洗衣机,属于洗衣机技术领域。本发明中的洗衣机在洗涤衣物时,通过对衣物进行浸泡,在洗涤过程中可根据衣物的脏度控制洗衣机进水阀和排水阀的开度,从而能够根据衣物的脏度选择不同的洗涤方式,避免在洗涤过程中脏物残留于桶内,降低洗衣机的洗净度或者造成洗涤结束后由于脏物残留于桶内造成下次洗衣时细菌交叉感染。
4、三星XR眼镜商标现身
11 月 22 日消息,三星计划明年下半年发布一款 XR 头显设备,代号为“Infinite”,并计划在明年年底前上市发售。而根据 X 平台用户 Stufflistings 消息,这款 XR 头显商标已经现身数据库,名为“Samsung Glasses”。

5、重庆警方破获一起假冒商标电池案
近日,在“昆仑2023”专项行动中,重庆北碚警方破获一起销售假冒品牌电池商标案,抓获犯罪嫌疑人15名,涉案金额2000余万元。以王某为首的犯罪团伙主要成员被北碚警方移送检察机关起诉。重庆警方提醒广大市民群众,为确保自身利益及产品使用安全,应认准正规商店和品牌,购买正品电池。若发现制假售假违法犯罪行为,立即向有关部门举报,共同维护产品安全和自身权益。

6、“美食荒漠”已被杭州公司申请商标
据报道,34 岁的小郑和退休资深总厨的老爸为证明杭州不是 " 美食荒漠 ",吃遍 100 多家店,被网友称为 " 杭州美食地图 "。天眼查显示,杭州有一家公司名为杭州美食荒漠餐饮管理有限公司,其成立于今年 7 月,法定代表人为曾璐,注册资本 50 万人民币,经营范围包括餐饮管理、酒店管理、外卖递送服务等,由张靖等人共同持股。值得一提的是,该公司在 7 月 26 日申请注册了两枚 " 美食荒漠 " 商标,国际分类为食品、方便食品,当前商标状态为等待实质审查。

7、联想在美对华硕发起专利诉讼
11 月 23 日消息,联想日前在美国加利福尼亚州北区地方法院,向华硕公司提起诉讼,联想声称华硕的笔记本电脑侵犯了自家四项专利,要求华硕提供赔偿,并停止在美国销售 ZenBook 笔记本电脑和其他涉嫌侵权的产品。联想以华硕 Zenbook Pro 14 OLED(UX6404)为例,声称华硕出售的笔记本违反了联想在 2010 年取得的“无线唤醒局域网电源管理专利”。此外,联想还认为,华硕的 Zenbook Flip 14 UX461 的“ErgoLift”铰链侵犯了联想在 2014 年获得的“带角度定时轴机构的双轴铰链(Dual shaft hinge with angle timing shaft mechanism)”专利,该专利允许二合一笔记本电脑通过内置的铰链,快速将设备从标准的“笔记本模式”切换到“平板电脑模式”。

8、库迪咖啡申请TEACAT商标
据报道,11月23日,陆正耀创立的库迪咖啡确认,其奶茶品牌“茶猫”系库迪咖啡旗下第二品牌,将于2024年1月正式上市。近日,库迪供应链(安徽)有限公司申请注册“TEA CAT”商标,国际分类为餐饮住宿,当前商标状态为等待实质审查

9、广西首个集体商标成功注册
11月20日,国家知识产权局发布第1864期集体商标注册公告,“崇左坚果”成功注册为集体商标,标志着崇左市成功树立“崇左坚果”金字招牌里程碑,也标志着广西拥有了首个含有县级以上行政区划地名的集体商标。

温馨提示:本文所引用的文章、使用的图片来自网络,已注明出处,不用于商业目的,版权归原作者所有。如有不妥,请留言告知。感谢!
风里雨里,大麦知识产权一直在您跨境品牌出海、产品出海路上,陪伴着您!